OEM 2,4 mm RF koaxiálny konektor Supplier

Ningbo Hanson Communication Technology Co., Ltd. Domov / Produkty / RF koaxiálny konektor / 2,4 mm RF koaxiálny konektor

2,4 mm RF koaxiálny konektor

Popis:

Konektor série 2,4 mm je vysokofrekvenčný RF konektor navrhnutý pre vysoko presné vysokofrekvenčné aplikácie, najmä pre prípady prenosu signálu, ktoré vyžadujú rozsah prenosovej frekvencie 40 GHz alebo dokonca vyšší. Je ideálnou voľbou na poskytovanie vysokovýkonných signálových spojení v mikrovlnnom frekvenčnom pásme, vysokorýchlostnú komunikáciu a presné testovacie a meracie polia.

Parameter:

Hlavné technické špecifikácie:
◆ Charakteristická impedancia: 50Ω
◆ Frekvenčný rozsah: DC-50GHz
◆ Izolačný odpor: ≥5000MΩ
◆ Dielektrické výdržné napätie: 500 V (rms)
◆ Pomer stojatých vĺn napätia (VSWR): ≤1,35
◆ Párovacie cykly: 500 krát

Opýtajte sa

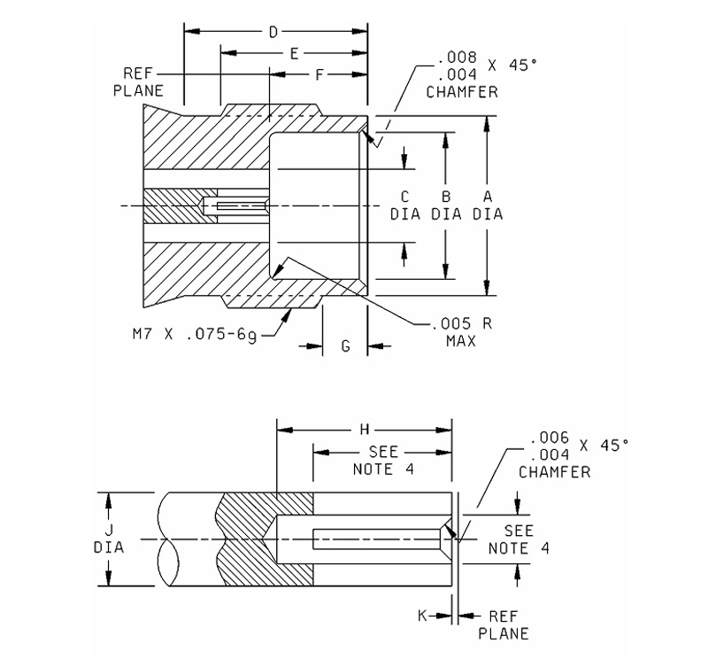
List Milimetre (palce)
Minimum Maximálne
A 4,725 (0,186) 4,75 (0,187)
B 2,393 (0,094) 2 408 (095)
C 1,85 (0,073) 2,45 (0,096)
E 4,75 (0,187) 4,85 (0,191)
F 1,035 (.0407) 1,05 (0,0413)
G 1,34 (0,053) 1,45 (0,057)
H 0,498 (,0196) 0,523 (0,0206)
J ---------- 0,25 (0,010)
K 0,00 (,000) 0,08 (0,003)

Poznámky:
1. Dĺžka závitu je od konca spojovacej matice, minimálne 4,37 mm (0,172 palca), 0,63 mm (0,025 palca) ± 0,25 mm (0,010 palca).
2. So spojovacou maticou predpätou v smere dopredu.
3. Rozmery sú v milimetroch.
4. Ekvivalenty v palcoch a librách sú uvedené len pre informáciu.
5. Protiľahlý otvor minimálne 7 mm (0,276 palca).

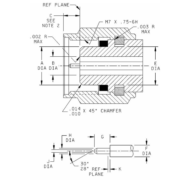
List Milimetre (palce)
Minimum Maximálne
A 4,725 (0,186) 4,75 (187)
B 2,393 (0,094) 2,408 (0,095)
C 1,85 (0,073) 2,45 (0,096)
E 4,75 (0,187) 4,85 (0,191)
F 1,035 (.0407) 1,05 (0,0413)
G 1,34 (0,053) 1,45 (0,057)
H 0,498 (0,0196) 0,523 (0,0206)
J -------- 0,25 (0,010)
K 0,00 (,000) 0,08 (0,003)

Poznámky:
1. Dĺžka závitu je od konca spojovacej matice, minimálne 4,37 mm (0,172 palca), 0,63 mm (0,025 palca) ± 0,25 mm (0,010 palca).
2. So spojovacou maticou predpätou v smere dopredu.
3. Rozmery sú v milimetroch.
4. Ekvivalenty v palcoch a librách sú uvedené len pre informáciu.
5. Protiľahlý otvor minimálne 7 mm (0,276 palca).

2,4 mm $ $ SERIES
  • 2,4-JB2
    2,4-JB2
    Model Typ kábla
    2,4-JB2 SFT-50-2,670-086
  • 2.4-J125
    2.4-J125
    Model Typ kábla
    2,4-J125 125
  • 2.4-J230
    2.4-J230
    Model Typ kábla
    2.4-J230 MILFLEX 230 $ $

BUĎTE V KONTAKTE

ODOSLAŤ
O nás
Ningbo Hanson Communication Technology Co., Ltd.
Ningbo Hanson Communication Technology Co., Ltd.
Ningbo Hanson Communication Technology Co., Ltd. is China 2,4 mm RF koaxiálny konektor Supplier and Custom 2,4 mm RF koaxiálny konektor Company. We are a manufacturer specializing in the production, processing, and trade of communication components, with more than 30 years of experience in RF coaxial connectors, adapters, and cable assemblies. Spoločnosť teraz vyvinula vlastnú obrábaciu dielňu, galvanickú dielňu, montážnu dielňu a skupinu stabilných a spoľahlivých dodávateľov. Cieľom spoločnosti je poskytovať zákazníkom vysokokvalitné produkty. Hlavné produkty sú RF koaxiálne konektory, adaptéry, vysokofrekvenčné káblové zostavy a nízko intermodulačné káblové zostavy. Okrem toho môže spoločnosť tiež poskytovať služby pre zákazníkov s prispôsobenými potrebami, aby splnili špeciálne požiadavky zákazníkov na produkty. Produkty spoločnosti sú široko používané v leteckom a kozmickom priemysle, komunikačných základňových staniciach, zdravotníckych zariadeniach a iných high-tech oblastiach. V čase podnikovej reformy, inovácií, rozvoja a rastu sa spoločnosť ujala iniciatívy vstúpiť do medzinárodného systému manažérstva kvality ISO9001 a neustále zlepšovala úroveň riadenia, aby novým a starým zákazníkom poskytovala uspokojivejšie produkty a služby.
Najnovšie správy
Hľadáte obchodnú príležitosť?

Požiadajte o telefonát ešte dnes